Education for Filmmakers
Language
The CineD Channels
Info
New to CineD?
You are logged in as
We will send you notifications in your browser, every time a new article is published in this category.
You can change which notifications you are subscribed to in your notification settings.
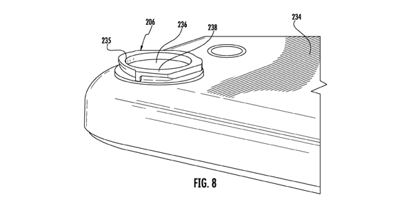
Apple has submitted a patent for a bayonet mount for the iPhone, potentially pointing at a native interchangeable lens mount system in the near future.
This could bring us a few extra filmmaking tools to our fingertips. Macro, wide angle, telephoto; these would all be great to have access to, opening up new possibilities for smartphone filmmaking.
But lets not get ahead of ourselves. It would be naive to say that these aren’t already accessible. Olloclip amongst many other manufacturers has done a fantastic job bringing us these exact features with their multi-use clip on lenses.
I was a huge fan of the Olloclip 4 in 1 for the iPhone 4, but lost interest in the iPhone 5 version as the phone demanded a case due to it’s terrible damage prone shell. Olloclip responded well to this with their flip case product, but I’m yet to try it out.
Back to the patent, the most exciting prospect to take home here is how seriously companies are taking filmmaking and photography in smartphones. We’ve seen huge megapixel count phones, 4K video phones, and now potentially interchangeable lens phones. In a couple of years we really could see genuine contenders for pocket sized run and gun setups; Blackmagic Pocket Cinema meets the iPhone?
Now, patents for products pop up all the time, so this should be taken with a grain of salt as many take time to surface, if at all. But it’s a nice eyebrow raiser.
via Tech Crunch
Δ
Stay current with regular CineD updates about news, reviews, how-to’s and more.
You can unsubscribe at any time via an unsubscribe link included in every newsletter. For further details, see our Privacy Policy
Want regular CineD updates about news, reviews, how-to’s and more? Sign up to our newsletter and we will give you just that.
Tim Fok is a freelance commercial DP based in the UK, working globally.